К-20
VPC Pneumatic
8481804090
| Рабочая среда: | |
|---|---|
| Рабочая температура: | |
| Шумовой диапазон: | |
| штат: | |
Описание продукта
| Модель | Вибрации [x 1000 мин.-1] | Мощность вибрации (Н) | Расход воздуха (/мин) | ||||||
| 0,2 МПа | 0,4 МПа | 0,6 МПа | 0,2 МПа | 0,4 МПа | 0,6 МПа | 0,2 МПа | 0,4 МПа | 0,6 МПа | |
| К8 | 25.51 | 31.1 | 35.1 | 132 | 249 | 365 | 0.85 | 150 | 190 |
| К10 | 22.51 | 28.1 | 34.1 | 245 | 468 | 715 | 0.95 | 155 | 210 |
| К13 | 15.1 | 18.51 | 22.51 | 320 | 560 | 875 | 0.95 | 160 | 230 |
| К16 | 13.1 | 17.1 | 19.51 | 455 | 810 | 1110 | 1.25 | 210 | 285 |
| К20 | 10.51 | 14.51 | 16.51 | 715 | 1200 | 1750 | 1.35 | 235 | 335 |
| К25 | 9.21 | 12.21 | 14.1 | 925 | 1580 | 2100 | 1.65 | 295 | 420 |
| К30 | 7.81 | 9.71 | 12.51 | 1520 | 2480 | 3250 | 2.2 | 380 | 575 |
| К32 | 7.56 | 9.41 | 11.3 | 1780 | 2810 | 3670 | 2.4 | 430 | 625 |
| К36 | 7.31 | 9.1 | 10.1 | 2050 | 3135 | 4100 | 2.65 | 480 | 678 |

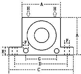
Основные размеры

| Модель | А (мм) | Ширина (мм) | С (мм) | Д (мм) | Е (мм) | Ф(мм) | Г (мм) | H(Резьба BSP) | Вес (кг) |
| К-08 | 50 | 20 | 86 | 68 | 12 | 7 | 40 | G1/4' | 0.14 |
| К-10 | |||||||||
| К-13 | 65 | 27 | 113 | 90 | 16 | 9 | 50 | G1/4' | 0.32 |
| К-16 | |||||||||
| К-20 | 80 | 38 | 128 | 104 | 16 | 9 | 60 | G1/4' | 0.68 |
| К-25 | |||||||||
| К-30 | 100 | 50 | 160 | 130 | 20 | 11 | 80 | G3/8' | 1.4 |
| К-32 | |||||||||
| К-36 |
Товары не найдены